Российские инновационные разработки мембранных клапанов многоразового действия, которые ждут своего часа

11 января, 2017 1935

Мулюкин О. П., д. т. н., профессор, Самара

К предохранительным мембранам (ПМ), называемым также мембранными клапанами (МК), относят устройства со специально ослабленным по прочностной способности элементом с точно рассчитанным и экспериментально подтвержденным порогом разрушения по усилию, развиваемому воздействующим на его площадь избыточным давлением рабочей среды. Разрывные устройства применяют в тех случаях, когда по условиям безопасности требуется быстрое открытие больших проходов для сброса большого количества среды, то есть при опасности быстрого (мгновенного) повышения давления в защищаемом резервуаре или пневмогидравлическом тракте. Как правило, они разрушаются при превышении давления на 0,25 рабочего [1] (рисунки 1, 2).

Российские инновационные разработки мембранных клапанов многоразового действия, которые ждут своего часа

Рисунок 1 – Разрывные предохранительные мембраны а – с радиальными рисками; б – с круглой риской; в – с прорезями; г – с вакуумной опорой: 1 – упор; 2 – мембрана; 3 – вакуумная опора; 4 – герметизирующая подложка

 

 

Российские инновационные разработки мембранных клапанов многоразового действия, которые ждут своего часа

Рисунок 2 – Предохранительная мембрана железнодорожной цистерны: 1 – кожух; 2 – мембрана; 3 – фланец с острой кромкой; 4 – патрубок А – объект защиты (сосуд или емкость под избыточным давлением рабочей среды) ПМ нашли широкое применение в различных отраслях промышленности (химия; нефтедобыча; нефтехимия и нефтепереработка; металлургия; тепловая и атомная энергетика; среднее и тяжелое машиностроение; наземный, морской/речной и аэрокосмический транспорт). ПМ обеспечивают ряд неоспоримых преимуществ по сравнению с традиционными видами предохранительных клапанов [1, 2, 7]: 1. Конструктивную простоту, технологичность в изготовлении и сборке, определяющие в конечном счете высокую надежность срабатывания при повышении в защищаемых пневмогидротопливных трактах объектов предельно допустимого давления рабочей среды. 2. Возможность работы в объектах защиты со средами, склонными к кристаллизации, полимеризации и другим фазовым изменениям рабочей среды, нарушающим работоспособность уплотнительных соединений (УС) и подвижных сопряжений предохранительно-дренажной арматуры. 3. Высокое быстродействие без ограничения площади перекрываемого проходного сечения, являющееся в ряде случаев решающим фактором при выборе предохранительной арматуры для объектов защиты с агрессивными и пожаро-, взрывоопасными средами. 4. Полную герметизацию сбросного отверстия до срабатывания мембраны, в то время как клапанные устройства с пружинными или приводными задатчиками нагрузки обладают определенным уровнем утечек по УС, обуславливающих непроизводительные потери рабочей среды, загрязняющие окружающие среду находящимися в ней вредными компонентами. ПМ характерны следующие недостатки: 1. После срабатывания мембраны однократного применения и сброса необходимого количества среды сбросное отверстие ПМ не закрывается и остается открытым до перекрытия/отсечки магистрали подвода среды к месту установки ПМ или до замены сработавшей мембраны. Нелимитированный сброс рабочей среды из объекта защиты обуславливает необходимость прекращения его работы для демонтажа сработавшей мембраны и установки новой. Этот недостаток может быть устранен усложнением/удорожанием используемой пневмогидросистемы путем введения специальных дополнительных устройств, сочетающих параллельную или последовательную установку мембран и предохранительных клапанов. В первом случае мембрана рассчитывается на давление срабатывания несколько более высокое, чем у предохранительного клапана, чтобы обеспечить дополнительный сброс среды в экстремальных условиях. Во втором случае разрывные мембраны устанавливают перед предохранительным клапаном для защиты его от коррозии, загрязнения и исключения прохода среды при закрытом клапане во время нормальной работы защищаемого объекта. 2. Мембраны, в силу их конструктивного решения, неконкурентоспособны с многофункциональной дыхательной арматурой резервуаров, срабатывающей при знакопеременных перепадах давления, измеряемых десятками или сантиметрами водяного столба и наблюдаемых периодически при нормальном режиме работы резервуаров. 3. Производство ПМ сопряжено с высокой технологической дисциплиной изготовления, сборки и монтажа мембранного узла в объект защиты и тщательной экспериментальной отработкой ее конструкции на минимальность разброса давления срабатывания. Кроме того, существенным недостатком предохранительных мембран (по сравнению с автоматическими пружинными тарельчатыми или шариковыми клапанами) является одноразовость их действия (использования). Каждое срабатывание ПМ сопряжено с последующим проведением цикла монтажно-сборочных работ (ЦМСР) по демонтажу прорванной мембраны и установке новой. В частности, на этапах маршрутного следования подвижного железнодорожного состава проведение данного цикла работ сопряжено, с одной стороны, с непредвиденными затратами времени, а с другой стороны, требует должной организации такого рода работ (оснащение ЗИП, контроль качества герметизации новой мембраны, установленной взамен сработавшей, с оформлением соответствующих документов на выполненные работы). С целью сокращения затрат времени на проведение ЦМСР по замене сработавшей мембраны на новую и обеспечения многоразовости использования мембранных клапанов в цистернах железнодорожного состава при участии автора разработан механизм принудительной смены сработавшей мембраны на новую из блока запасных мембран, входящих в состав МК (рисунок 3).

Российские инновационные разработки мембранных клапанов многоразового действия, которые ждут своего часа

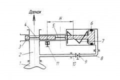
Рисунок 3 – Мембранный клапан с вращательным механизмом замены сработавшего участка мембраны на новый участок: 1 – патрубок цистерны; 2 – уплотнитель; 3 – ось вращения с резьбовым окончанием; 4 – поворотная обойма; 5 – дисковая мембрана; 6 – гайка; 7, 12 – пломба; 8 – контргайка; 9 – гайка; 10 – пылевлагозащитный кожух; 11 – болт Замена отработавшего участка мембраны 5 (закрепленной в обойме 5, параллельной центрирующей поверхности патрубка 1 с уплотнителем 2) на новый участок производится в следующей последовательности: - удаляются пломбы 7, 12 в проволочной контровке деталей 4, 11 и 8, 9; - демонтируется болт 11 и снимается момент затяжки с контргайки 8 и гайки 9; - обойма 4 проворачивается вокруг оси вращения 3 на угол, обеспечивающий расположение нового участка мембраны 5 относительно оси патрубка 1; - устанавливается болт 11, и детали 9, 8 нагружаются требуемыми моментами затяжки для обеспечения герметичности по стыкам деталей 1, 4; - осуществляется пломбирование вновь собранного мембранного узла при помощи пломб 7 и 12. Конструктивное исполнение устройств такого рода характеризуется большим многообразием и может содержать самые неожиданные технические решения (рычажно- вращательные съемные мембраны, мембраны с рычажно-зубчатым механизмом, мембраны с кулачково-храповым переключателем и пр.). В качестве иллюстрации сказанного на рисунке 4 представлена структурная схема одной из таких конструкций с поступательно перемещающейся обоймой, содержащей набор отдельных участков мембраны, последовательно вводимых в сопряжение с проходным каналом патрубка после срабатывания предшествующего участка мембраны.

Российские инновационные разработки мембранных клапанов многоразового действия, которые ждут своего часа

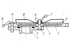
Рисунок 4 – Структурная схема мембранного клапана с поступательно перемещающимся механизмом замены сработавшей мембраны на новую: 1 – патрубок; 2 – корпус механизма замены мембраны; 3 – обойма; 4 – набор мембран А – объект защиты (сосуд или емкость под избыточным давлением среды); а – направление движения обоймы 3 для смены сработавшей мембраны на новую На наш взгляд, следующим шагом в совершенствовании МК явится разработка конструктивно простых и надежных в эксплуатации механизмов замены сработавшей мембраны на новую, которые будут срабатывать автоматически (без вмешательства обслуживающего персонала) и осуществлять указанную замену за счет использования энергии рабочей среды в защищаемом резервуаре путем ее перепуска на исполнительный орган механизма замены (рисунок 5).

Российские инновационные разработки мембранных клапанов многоразового действия, которые ждут своего часа

Рисунок 5 – Структурная схема мембранного клапана с приводным механизмом замены сработавшей мембраны на новую путем санкционированного перепуска рабочей среды из защищаемого резервуара в полость с исполнительным органом механизма: 1 – резервуар с избыточным давлением рабочей среды; 2, 8, 10 – патрубок; 3 – обойма крепления мембран 4, 5; 6 – поршневой привод; 7 – пружина; 9 – управляемое запорное устройство (электромагнитный клапан или вентиль с механическим/ручным управлением); 11 – подпружиненная механическая защелка, настроенная на срабатывание при приложении к обойме 3 конкретного осевого усилия Определенный интерес для развития работ данного направления представляют полученные при участии автора результаты разработки механизмов безразборной смены клапанного уплотнения после выработки гарантированного ресурса в ряде предохранительных и электромагнитных клапанных устройств [3: рис. 1.8, 1.9; 4; 5]. Следует отметить, что все охарактеризованные выше конструкции МК основаны на принципе срабатывании мембраны при превышении избыточным давлением рабочей среды некоторой заданной величины. Однако в ряде случаев, для сосудов с криогенной средой, например для сжиженного природного газа с температурой порядка 113 К, срабатывание мембраны возможно осуществлять при превышении температуры рабочей среды некоторой фиксированной температуры. Это обусловлено тем, что при повышении температуры оболочки такого сосуда в результате теплообмена с окружающей средой происходит существенное увеличение газовой составляющей в криогенной среде с соответствующим повышением избыточного давления внутри сосуда. Поэтому срабатывание мембран по предельному значению температуры будет равнозначно ее срабатыванию по предельному значению избыточного давления в сосуде. Для разработки конструкций МК такого рода может быть использован принцип работы датчиков – реле температур, чувствительным элементом которых является биметаллическая «хлопающая» мембрана. Действие этих приборов основано на свойстве такой мембраны мгновенно изменять направление прогиба при достижении определенной температуры. Таким образом, биметаллическая мембрана преобразует изменение температуры в перемещение, что дает реальные возможности разработке биметаллических мембранных клапанов многоразового действия [6].

Литература:

1. ПБ 03-576-03. Правила устройства и безопасности эксплуатации сосудов, работающих под давлением (Утверждены Постановлением РФ от 11 июня 2003 г. № 91).

2. Ольховский Н. Е. Предохранительные мембраны: монография / Н. Е. Ольховский. – М.: Химия, 1976. – 149 с.: ил.

3. Мулюкин О. П. Гидропневмотопливные клапанные агрегаты с управляемым качеством динамических процессов: учебно-справочное пособие / Д. Е. Чегодаев, О. П. Мулюкин, А. Н. Кирилин и др.: под ред. Д. Е. Чегодаева и О. П. Мулюкина. – Самара: СГАУ, 2000. – 546 с.: ил.

4. Mulyukin O. P. Das Steuerungs- und Diagnosesystem der Pneumohydroausrustung der Objekte mit selbstreparierenden Verdichtungseinrichtungen / D. E. Tschegodajew, O. P. Mulyukin // 8 Fachtagung Hudraulik und Pneumatik. – Tagungsmaterialen. – Magdeburg, 1990. – S. 463–469.

5. Мулюкин О. П. Безразборное восстановление работоспособности клапанных уплотнений пневмогидросистем жизнеобеспечения подводного флота / О. П. Мулюкин // Международный журнал «Трубопроводная арматура и оборудование». – 2014. – № 2 (71). – С. 26–30.

6. Калюк А. В. Контроль термоэлектронной способности биметаллов хлопающих мембран датчиков температуры: дисс. … канд. техн. наук: 05.11.13. – Орел: ОрелГТУ, 2006. – 170 с.

7. Мулюкин О. П. Типовые и нетрадиционные конструкции пневмогидравлических мембранно-предохранительных устройств: монография / О. Е. Лаврусь, А. С. Левченко, А. В. Ковтунов, О. П. Мулюкин. – Самара: СамГУПС, 2009. – 80 с.

← Вернуться